Ford Hot Wire MAF Sensor Now as we discussed the MAF sensor sends either a variable voltage or a changing frequency to the computer. The sensor takes into account positive and negative intake pulses caused by intake and exhaust valves opening and closing.
The Hot Film version uses a metal film grid to read the airflow.
Hot film maf sensor. The hot film MAF sensor works somewhat similar to the hot wire MAF sensor but instead it usually outputs a frequency signal. This sensor uses a hot film-grid instead of a hot wire. It is commonly found in late 1980s and early 1990s fuel-injected vehicles.
The output frequency is directly proportional to the air mass entering the engine. A sensor which measures the mass kgh of the air flow Hot Wire MAF sensor also known as HLM. A sensor which measures the mass kgh of the air flow Hot Film MAF HFM.
Nowadays the most common are MAF because they dont have mechanical moving parts and have great performance and accuracy. To do this hot film mass air flow sensors measure a small portion of the air entering the engine. The sensor takes into account positive and negative intake pulses caused by intake and exhaust valves opening and closing.
Intake air temperature or ambient pressure changes have no effect on air mass measurement. To do this hot film mass air flow sensors measure a small portion of the air entering the engine. The sensor takes into account positive and negative intake pulses caused by intake and exhaust valves opening and closing.
Ambient pressure changes have no effect on air mass measurement. On a car with an automatic transmission the MAF sensor may help with shift timing as well. Although there are two common types of MAF sensors hot-wire and hot-film hot-wire types are the most common.
Troubleshooting test procedures for hot-wire sensors may vary from one vehicle make to the next. Ford Hot Wire MAF Sensor Now as we discussed the MAF sensor sends either a variable voltage or a changing frequency to the computer. While there are several distinct MAF sensor technologies ranging from hot-wire or hot-film to Karman vortex and Corialis sensors and while MAF sensor outputs may take the form of variable frequency variable current or a simple analog voltage the diagnostic principles remain largely the same.
Technician A says that a MAF sensor is a high-authority sensor and is responsible for determining the fuel needs of the engine based on the measured amount of air entering the engine. Technician B says that a cold wire MAF sensor uses the electronics in the sensor itself to heat a wire 20C below the temperature of the air entering the engine. The MAF sensor has failed.
The hot wire or film element is dirty or damaged so that it is unable to feel air flow. The sensor self-cleaning electrical circuit on hot-wire types has failed. The most common cause of MAF sensor failure is a dirty sensing element.
The hot-film air-mass meter available in all function variants as a plug-in sensor or as a plug-in sensor in a cylinder housing. The cylinder housing can be customized to meet any diameter length or connection requirements. Measuring principle of the hot-film air-mass meter Operation of the Hot-film air-mass meter.
The mass airflow sensor MAF is used to measure the amount and temperature of air that is entering the engine at any given time. The mass airflow sensor senses the total amount of air passing the sensor and allows the fuel injection system to adjust the fuel mixture to compensate for cold weather andor high altitude conditions. The airflow sensor or HFM Hot Film Meter is hugely important in the performance and fuel economy of the engine.
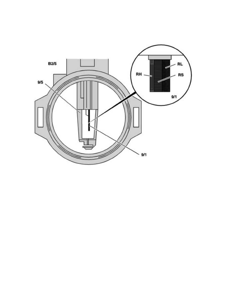
Faulty airflow sensors usually cause rough running poor idle lack of performance misfires and higher fuel consumption. P0100 B2 5 hot film maf sensor. Jump to Latest Follow 1 - 12 of 12 Posts.
Olivier A Registered. E300TD 1997 W210 Running on WVO and a of dino. Joined Jun 25 2008 1206 Posts.
A MAF measures the mass flow rate or volume of air going into the engine. The two most common kinds of MAF sensors used today are the Hot Wire MAF and the Hot Film MAF. The Hot Wire places a thin heated wire in the path of the air stream to directly measure air mass.
The Hot Film version uses a metal film grid to read the airflow. The BMW E46 digital engine management DME systems use a hot-film mass airflow sensor installed between the air filter housing and the intake manifold to monitor air flow into the engine intake. Inside the sensor there is a thin metal film which is maintained at a constant temperature via electrical current from the ECM.
A mass air flow MAF sensor responds to the amount of air flowing through a chamber containing the sensor. 1 shows the MAF sensor made by BOSCH and fig. The condition of wires between the MAF sensor and the onboard controller.
For Y F Body Mass Air Flow Sensor Replacement for Bosch Hot Wire.